Microsoft mueve ficha adquiriendo diversas patentes relacionadas con la realidad virtual y aumentada

Patente Gafas Microsoft

La realidad virtual y aumentada está de moda, sin duda este es el año para esta tecnología y Microsoft no quiere perder el tren para sumarse a esta tecnología para aplicar en el mundo de los videojuegos y otros fines. 

Sin duda sus principales competidores llevan una clara ventaja como puede ser Oculus Rift (la mas avanzada y perfeccionada) que ha sido adquirida por Facebook y donde su futuro es algo incierto, las famosas Google Glass o las gafas para PS4 de mano de Sony, quizás su principal rival en este nuevo frente.

Pero hablemos de las gafas de realidad virtual y aumentada que Microsoft tiene en mente.

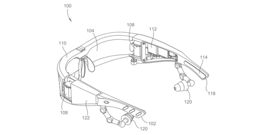
Microsoft ha adquirido un elevado número de patentes  de la empresa Ostherhout Design Group, dichas negociaciones se cerraron el pasado mes de noviembre donde dichas patentes pasaban a ser propiedad de Microsoft a partir de enero de 2014. El número exacto de la operación se desconoce pero los rumores apuntan a una adquisición entre 70 y 90 patentes con un precio de 150 millones de dolares.

Patente gafas realidad aumentada y virtual de Microsoft

Dichas patentes se centran  en unas gafas con capacidad para mostrar en sus lentes información útil (algo similar a Google Glass pero mas evolucionado) potenciando la realidad virtual y aumentada. Un 2X1.

Microsoft, además de implantarlo con Kinect y Xbox One podría ser aplicado a otros fines y utilidades. Como a otros campos totalmente independientes al ocio.

¿Que opinas de la realidad aumentada y virtual? ¿Tiene futuro para el mundo de los videojuegos? Opina en nuestro foro.

 

 

1 COMENTARIO

DEJA UNA RESPUESTA

Por favor ingrese su comentario!
Por favor ingrese su nombre aquí

Este sitio usa Akismet para reducir el spam. Aprende cómo se procesan los datos de tus comentarios.